注:聚氨酯 PA-11;預烘:80℃,4min;焙烘:160℃,4min
表 5 彈性聚氨酯整理劑 PA-11 焙烘溫度對苧麻織物刺癢感的影響
Tab. 5 Effect of baking tempreture on ramie fabric prickle based on polyurethane finishing
.jpg)
注:聚氨酯 PA-11 濃度 160g/L;預烘:80℃,4min;焙烘時間 4min
由表 5 可知,隨著焙烘溫度的升高,苧麻織物的表面性質略有改善。焙烘溫度主要影響
聚氨酯的成膜過程,焙烘溫度低,交聯和成膜過程可能不充分;焙烘溫度越高,聚氨酯反應 活性越高,能夠發生充分反應,但溫度過高時,結合主觀感受發現,織物手感會發硬,對降 低刺癢感產生不利影響。
彈性聚氨酯整理對苧麻織物抗刺癢整理的顯著效果分析:在焙烘條件下,聚氨酯整理劑 上的活性基團異氰酸酯脫去保護基恢復其超強的反應活性,可迅速與苧麻纖維上的羥基發生 反應,也可與聚氨酯分子上的其它活性基團反應,從而以化學鍵的形式在織物表面或纖維內 部交聯,形成立體網狀大分子結構。在苧麻織物表面形成部分包覆,改善織物平滑性、鈍化 突出于織物表面的毛羽;同時,聚氨酯整理劑在苧麻纖維和紗線內部形成的交聯,可有效提 高織物的可壓縮性能。以上作用的綜合效果使苧麻織物的刺癢感顯著降低。
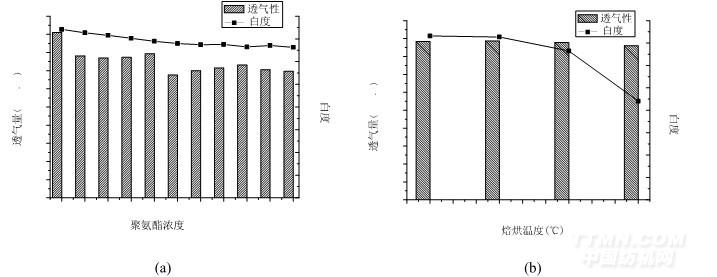
苧麻織物的聚氨酯整理可能會對織物的透氣性和白度造成影響。苧麻織物白度和透氣性 能隨聚氨酯濃度增加和焙烘溫度提高的變化情況如圖 7 所示。
.jpg)
由圖 6(a)可知,經聚氨酯整理劑 PA-11 處理后的苧麻織物白度和透氣性能都略有降低,
但變化甚微。白度的結果表明,在適當的焙烘溫度下,所選用的整理劑結構穩定,基本不泛 黃;透氣性的結果表明,聚氨酯整理劑在纖維、紗線間或在織物表面形成的立體網狀結構并 非為連續而致密不透氣的聚氨酯膜,因而對織物的透氣性能影響不大。由圖 6(b)可知,隨著 焙烘溫度的提高,織物的透氣性能未發生明顯變化,但織物的白度下降較為顯著。由于聚氨 酯的泛黃主要由成分中異氰酸酯發生氧化降解產生的,溫度越高,異氰酸酯的反應活性越高, 發生氧化降解的可能性就越大;另一方面,高溫焙烘下也可能造成苧麻纖維降解和損傷,對 織物的白度和強力均不利。
綜上所述,苧麻織物的彈性聚氨酯 PA-11 抗刺癢整理優化工藝為:二浸二軋(聚氨酯濃 度 160g/L,室溫,帶液率 100%),烘干(80℃,4min),焙烘(160℃,4min)。
2.2.2 彈性聚氨酯整理苧麻織物的性能和形態結構分析 將苧麻織物的彈性聚氨酯整理優化工藝進行再試驗,測試織物刺癢感及透氣性能、白度
等如表 6 所示。
表 6 聚氨酯 PA-11 整理前后苧麻織物刺癢感及基本服用性能對比
Tab. 6 Comparison of ramie fabric prickle and breaking strength before and after polyurethane finishing
.jpg)
相關信息 







推薦企業
推薦企業
推薦企業