一般來說,酸性體系有利于有機物的降解,但不同有機物獲得最佳降解效果的pH值不同,這取決于具體的情況。為了更接近實際,選擇原始pH值,以便于實際生產應用。
2. 5 各活性染料的UV-V is分析
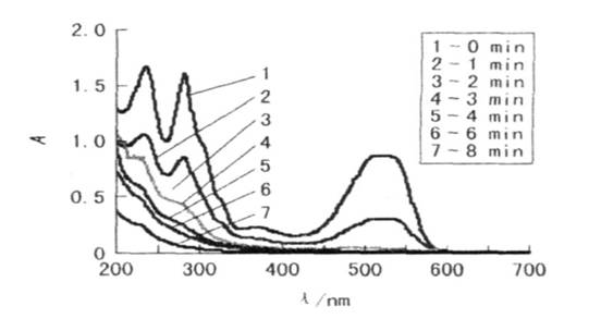
對選用的活性染料三原色及1∶1∶1的三原色拼混樣脫色處理前后的水樣進行紫外可見吸收光譜分析,結果見圖6。
.jpg)
Levafix紅CA gran
.jpg)
(b)Levafix黃CA gran
.jpg)
(c)Levafix藍CA gran
.jpg)
(d)三者拼混
圖6 不同活性染料的紫外-可見吸收光譜圖
由圖6可見,經光電催化降解后,三原色及混合樣最大吸收波長處的波峰均消失了,這證明了溶液中染料被降解;在紫外區苯環的特征峰也消失了,證明苯環被打開,即光電催化氧化較徹底。
<<上一頁[1][2][3][4][5][6][7]下一頁>>
相關信息 







推薦企業
推薦企業
推薦企業